UCHA200

Unit No. | Shaft Dia d | Boundary Dimensions(mm) | Bearing No. | Housing | |||||||||||
Housing No. | Mass (kg) | ||||||||||||||
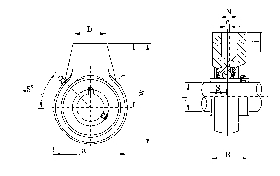
| (in) | (mm) | a | D | w | h | c | j | N | L | B | S | ||||
| UCHA201-8 | 1/2. | 2.5197 64 | 1.5748 40 | 3.7795 96 | 2.5197 64 | 0 | 0.7520 19.1 | PF 3/4 | 0.8268 21 | 1.2205 31.0 | 0.5000 12.7 | UC201-8 | HA204 | 0.74 | |
| UCHA202-10 | 5/8. | UC202-10 | |||||||||||||
| UCHA203-11 | 11/16. | UC203-11 | |||||||||||||
| UCHA204-12 | 3/4. | UC204-12 | |||||||||||||
| UCHA201 | 12 | UC201 | |||||||||||||
| UCHA202 | 15 | UC202 | |||||||||||||
| UCHA203 | 17 | UC203 | |||||||||||||
| UCHA204 | 20 | UC204 | |||||||||||||
| UCHA205-14 | 7/8. | 3.0709 78 | 1.5748 40 | 4.0551 103 | 2.5197 64 | 0 | 0.7520 19.1 | PF 3/4 | 0.9449 24 | 1.3425 34.1 | 0.5630 14.3 | UC205-14 | HA205 | 0.69 | |
| UCHA205-15 | 15/16 | UC205-15 | |||||||||||||
| UCHA205-16 | 1 | UC205-16 | |||||||||||||
| UCHA205 | 25 | UC205 | |||||||||||||
| UCHA206-17 | 1-1/16. | 3.1496 80 | 1.5748 40 | 4.0945 104 | 2.5197 64 | 0 | 0.7520 19.1 | PF 3/4 | 1.0630 27 | 1.5000 38.1 | 0.6260 15.9 | UC206-17 | HA206 | 1.00 | |
| UCHA206-18 | 1-1/8. | UC206-18 | |||||||||||||
| UCHA206-19 | 1-3/16. | UC206-19 | |||||||||||||
| UCHA206-20 | 1-1/4. | UC206-20 | |||||||||||||
| UCHA206 | 30 | UC206 | |||||||||||||
| UCHA207-20 | 1-1/4. | 3.6220 92 | 1.5748 40 | 4.5669 116 | 2.7559 70 | 0 | 0.7520 19.1 | PF 3/4 | 1.1811 30 | 1.6890 42.90 | 0.6890 17.50 | UC207-20 | HA207 | 1.38 | |
| UCHA207-21 | 1-5/16. | UC207-21 | |||||||||||||
| UCHA207-22 | 1-3/8. | UC207-22 | |||||||||||||
| UCHA207-23 | 1-7/16. | UC207-23 | |||||||||||||
| UCHA207 | 35 | UC207 | |||||||||||||
| UCHA208-24 | 1-1/2. | 3.9370 100 | 1.5748 40 | 4.8425 123 | 2.8740 73 | 0.0787 2.0 | 0.7520 19.1 | PF 3/4 | 1.2598 32 | 1.9370 49.2 | 0.7480 19.0 | UC208-24 | HA208 | 1.64 | |
| UCHA208-25 | 1-9/16. | UC208-25 | |||||||||||||
| UCHA208 | 40 | UC208 | |||||||||||||
| UCHA209-26 | 1-5/8. | 4.2520 108 | 1.8898 48 | 5.3543 136 | 3.2283 82 | 0.1968 5.0 | 0.8268 21 | PF 1 | 1.3386 34 | 1.9370 49.2 | 0.7480 19.0 | UC209-26 | HA209 | 2.08 | |
| UCHA209-27 | 1-11/16. | UC209-27 | |||||||||||||
| UCHA209-28 | 1-3/4. | UC209-28 | |||||||||||||
| UCHA209 | 45 | UC209 | |||||||||||||
| UCHA210-29 | 1-13/16 | 4.6457 118 | 1.8898 48 | 5.5906 142 | 3.2677 83 | 0.1968 5.0 | 0.8268 21 | PF 1 | 1.4173 36 | 2.0315 51.6 | 0.7480 19.0 | UC210-29 | HA210 | 2.61 | |
| UCHA210-30 | 1-7/8. | UC210-30 | |||||||||||||
| UCHA210-31 | 1-15/16 | UC210-31 | |||||||||||||
| UCHA210-32 | 2 | UC210-32 | |||||||||||||
| UCHA210 | 50 | UC210 | |||||||||||||
| UCHA211-32 | 2 | 4.9606 126 | 2.3622 60 | 6.2205 158 | 3.7402 95 | 0.2756 7.0 | 0.9842 25 | PF 1-1/4 | 1.4961 38 | 2.1890 55.6 | 0.874 22.2 | UC211-32 | HA211 | 2.94 | |
| UCHA211-33 | 2-1/16. | UC211-33 | |||||||||||||
| UCHA211-34 | 2-1/8. | UC211-34 | |||||||||||||
| UCHA211-35 | 2-3/16. | UC211-35 | |||||||||||||
| UCHA211 | 55 | UC211 | |||||||||||||
| UCHA212-36 | 2-1/4. | 5.5906 142 | 2.3622 60 | 6.8110 173 | 4.0157 102 | 0.3543 9.0 | 1.1024 28 | PF 1-1/4 | 1.6535 42 | 2.5630 65.1 | 1.0000 25.4 | UC212-36 | HA212 | 4.4 | |
| UCHA212-37 | 2-5/16. | UC212-37 | |||||||||||||
| UCHA212-38 | 2-3/8. | UC212-38 | |||||||||||||
| UCHA212-39 | 2-7/16. | UC212-39 | |||||||||||||
| UCHA212 | 60 | UC212 | |||||||||||||
| UCHA213-40 | 2-1/2. | 6.5354 166 | 2.7559 70 | 7.8740 200 | 4.6063 117 | 0.3740 9.5 | 1.2598 32 | PF 1-1/2 | 1.7323 44 | 2.5630 65.1 | 1.0000 25.4 | UC213-40 | HA213 | 6.61 | |
| UCHA213-41 | 2-9/16. | UC213-41 | |||||||||||||
| UCHA213 | 65 | UC213 | |||||||||||||
Plain Bearings & Rod Ends
Ball Bearings
Plumer Blocks
- SN200
- SN300
- SN500
- SN600
- SN3000
- SNU500
- 1500
- 722500
- S3000K
- Z2500Y
- Z2600Y
- SD500
- SD3000
- SD3100
- GZ4-130-400
- GZ2-72-260
- GZQ4-130-400
- GZQ2-72-260
- H2000
- H4000
Pillow Block Bearings
- Chrome Steel Insert Bearing
- Stainless Steel Insert Bearing
- Cast Iron Housing Units
- Stainless Steel Housing Units
- Plastic Housing Units
- Pressed Housing Units
Cam Followers
Needle-Roller Bearings & Clutches
Trust Bearings
Tapered Roller Bearings
Spherical Roller Bearings
Cylindrical Roller Bearings
Linear Bearings & Shafting
Adapter Sleeves

